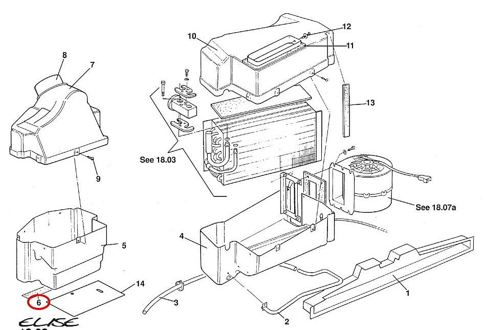
| エバポレータ ハウジングの固定が解けている状態。 大体、このデカイ物体を両面テープで固定する設計自体が間違っている。( 下図面の赤丸6番 ) 23年も経てば、両面テープの接着は無くなり、テープもネチョネチョな状態になるのは自明の理だろう。 エバポレータ ハウジングは浮いた状態なので、路面の凹凸が激しいと、このデカイ ハウジングがフレームに当たり 車内まで反響音のゴトゴトが響き渡る有様。

< エバポレータ ハウジング >

そこで、ハウジングの固定に挑戦する事にした。挑戦と大層な言い方だが、対策は簡単な方法で。 アルミ 2mm厚を切り出し、ボルト穴を開けて、曲げ、片面にゴムを張り付けて、固定板を作成。

フレーム側で固定のみに使われているボルトを一旦外して、共締め。 片持ち梁の状態ではあるが、ガッチリ固定 が出来てそう。エバポレータ ハウジングは、動かなくなった。

|
|
|